KENWOOD TM-261 フルメンテナンス
バックライトにはLEDが使われており、パネルと一体になっています。
連続2台目、お預かりしました。
こちらも埃が多い環境で使われ、だいぶ疲れています。

内部は埃でいっぱいです。

細かいところまで砂がたまっており、基板も砂だらけです。

ビニール袋内で、クリーニングです。

すべて分解して、徹底的に清掃しました。

洗えるものは水洗いし、その後アルコール洗浄しました。

ファイナル取り外し。
三菱M57737

電解コンデンサーALL交換しました。
使用したのは、日本ケミコンのKMG 105℃品です。 耐圧アップ。

基板上は砂埃だらけです。
ビフォー。

基板洗浄、電解コンデンサー交換。
アフター。

お疲れさまでした。

液晶パネル。
バックアップ電池はありません。

組み立て。
火入れまでもう少しです。

コンデンサーをエージング。
周波数調整。

FMデビエーション調整。
規定の4,4Khz

バンドパスフィルター、受信コイル調整中。
テストポイントからの電圧を、AFVMで見ながら最大に調整します。
繰り返し調整。

Sメーター調整。
フルセグ点灯。

スプリアス良好。

出力。
HI 20W
MID 10W
LO 1,5W

受信感度測定。
ー142,8dBm (12dB SINAD)

12dB SINAD GO判定。
SINAD点はフラフラしているので、針だけブレていますね。

特別調整品です。
スペックシールにCH入れ。
チャンピオン機

正確に飛ばす、受ける。
シンプルな無線機ですが、基本性能は良いリグの完成です。

追加。
オーナー様は、バックライトは白色がお好きということです。
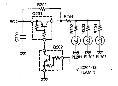
何とかならないかと思い、回路図を見てみるとバックライトがLEDとはどこにも記載がありません。
液晶のバックライトは、パネルと一体となったLEDが使われていると思っていましたが、電球かも知れません。

よくよく調べてみると、ありました!黒シールの下に電球が隠れていました。

白色LED化しました。

電流制限抵抗は100Ωを使用しました。

点灯試験OKです。

光ガイドの色が黄っぽい色ですから、真っ白にはなりませんでした。

ノーマルよりはだいぶ白くなりました。

コメント